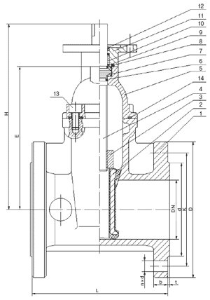
ЗАДВИЖКА ЧУГУННАЯ ФЛАНЦЕВАЯ С ОБРЕЗИНЕННЫМ КЛИНОМ 30ВЧ939Р ПОД ЭЛЕКТРОПРИВОД

НАЗНАЧЕНИЕ

задвижки чугунные предназначены для установки на трубопроводах в качестве запорного устройства транспортирующих холодную, горячую воду, нейтральные среды. Конструкция задвижки позволяет использовать ее в системах канализации. Максимальное давление PN: 1,0 и 1,6 МПа (10 и 16 кгс/см2)

ТЕХНИЧЕСКИЕ ХАРАКТЕРИСТИКИ

  • Температура рабочей среды: от -30 до +120 °С
  • Корпус: высокопрочный чугун GGG40
  • Обрезиненный клин: EPDM (основание — высокопрочный чугун GGG40)
  • Управление: электропривод
  • Задвижки чугунные 30вч939р устанавливаются в положении приводом вверх
  • Класс герметичности по ГОСТ 9544-2005: "А"
  • Тип присоединения: фланцевое с присоединительными размерами по ГОСТ 12815-80
  • Корпус: высокопрочный чугун GGG40

 

ГАБАРИТНЫЕ РАЗМЕРЫ И ВЕС

           DN

Длина L, мм

Высота Н, мм

Масса, кг

50

150

266

11

65

170

296

15

80

180

326

18

100

190

354

21

125

200

410

34

150

210

435

39

200

230

521

65

250

250

586

106

300

270

710

159

400

310

1041

540

500

350

1301

540

600

390

1477

720